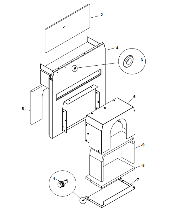
PTO Housing“40MDDCA,”“55MDDCB ,”“65MDDCC,”“80MDDCD,”“99MDDCE,&rdqu
REF PART QTY PART REF PART QTY PARTNO. NO. USED DESCRIPTION NO. NO. USED DESCRIPTION541−1140 Kit, Sound Shield (PTO)(Includes Parts Marked*)1 821−6006−01 13 *Screw, Hex HeadSems Stainless(M6 x 1.0 x 1
